ps4 controller patent

ps4 controller patent

Price: $44.99
In stock
Rated 5.0/5 based on 3 customer reviews
Size:
Quantity:
product description:

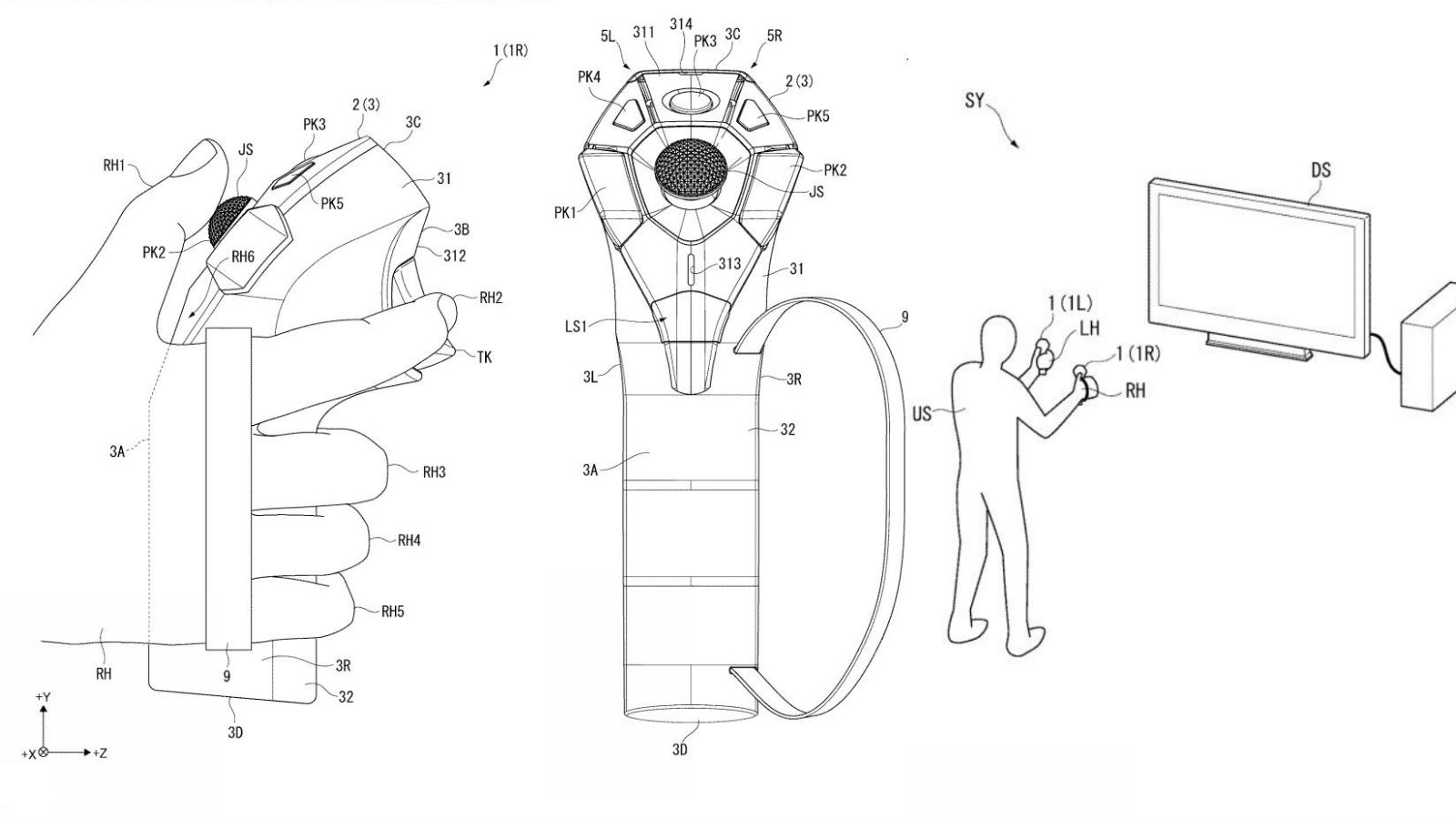
PlayStation 5 or PS4 controller
ps4 controller patent Discover cheap clothes, shoes and accessories for men at Our shop Outlet. Shop the latest menswear collection at cheap prices.
Product reviews:
  iphone 11 Pro
PlayStation 5 controllers may have ps4 controller patent
ps4 controller patent
  iphone 11 Pro Max
Sony Patent Reveals VR Controller ps4 controller patent
ps4 controller patent
  iphone SE
PS4 Elite Controller ps4 controller patent
ps4 controller patent
Customer Reviews:
Full Name:
Title:
Description:
Rating Value:
Time: 2025-12-22 16:23:19
You may also like: